皇冠信用網结算日是哪天 _刚刚,跳水!超20万人爆仓
如何申请皇冠代理(huangguan.hk—)开会员号,招代理/条件好/皇冠体育/出租/招登1登2登3地区代理【导读】加密货币市场集体走低皇冠信用網结算日是哪天 ,超20万人被爆仓
中国基金报记者 晨曦
刚刚皇冠信用網结算日是哪天 ,加密货币市场再度跳水!
10月14日晚间,比特币再度走低,一度跌破11万美元,跌幅达4.6%皇冠信用網结算日是哪天 。

以太坊一度跌破3900美元,跌幅超8%皇冠信用網结算日是哪天 。

主流加密货币集体走低,狗狗币、币安币、艾达币等均大幅下跌皇冠信用網结算日是哪天 。

展开全文
CoinGlass数据显示,最近24小时,全球共有20.66万人被爆仓,爆仓总金额为6.56亿美元,其中,多单爆仓4.75亿美元,空单爆仓1.82亿美元皇冠信用網结算日是哪天 。

美股加密货币概念股普跌皇冠信用網结算日是哪天 。

此外,根据德勤近期研究,约25%的比特币可能暴露在量子攻击风险下皇冠信用網结算日是哪天 。若这些比特币未能及时转移至抗量子地址,待强大量子运算机投入使用后,可能造成数千亿乃至兆美元的损失。数字资产管理公司Capriole Investment创始人、长期比特币倡导者Charles Edwards指出,量子运算威胁远比普遍认知的更迫近,并敦促社区在2026年前构建防御体系。
北京时间周三凌晨00:20,美联储主席鲍威尔将在全美商业经济协会举办的活动上发表讲话,主题为《经济展望与货币政策》皇冠信用網结算日是哪天 。业内认为,鲍威尔的讲话可能左右市场对降息节奏及整体货币政策的预期,从而决定当前加密货币市场的下行趋势是加剧还是企稳。
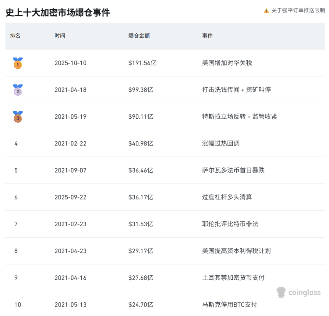
就在上周,美国总统特朗普发布关税威胁,加密货币市场遭遇“大清洗”,主流币种集体大跌皇冠信用網结算日是哪天 。CoinGlass数据显示,10月10日爆仓金额超191亿美元,居于历史首位。随后虽有所回升,但当天暴跌的“创伤”仍令投资者心有余悸。

区块链数据公司Santiment指出,上周五的抛售并非单纯受关税消息驱动皇冠信用網结算日是哪天 。散户交易者迅速将暴跌归咎于关税对峙,但更深层的结构性问题正在积聚,包括过度杠杆和多头仓位的极端集中。
TD Cowen分析师在近期报告中表示,美国参议员们在推动加密货币市场结构法案通过一事上行动迟缓,这可能导致该法案的通过时间推迟至中期选举之后皇冠信用網结算日是哪天 。
过去一年,已有多名民主党人对特朗普总统与数字资产的关联表示担忧,这一情况反过来使立法进程变得更加复杂皇冠信用網结算日是哪天 。据计算,特朗普通过其家族的加密货币项目(包括World Liberty Financial去中心化金融稳定币项目,以及“TRUMP”“MELANIA”两款迷因币)已获利约6.2亿美元。
编辑:黄梅
校对:王玥
制作:舰长
审核:陈墨
版权声明
《中国基金报》对本平台所刊载的原创内容享有著作权,未经授权禁止转载,否则将追究法律责任皇冠信用網结算日是哪天 。
猜你喜欢
- 17小时前皇冠信用网会员账号 _特朗普将举行对伊朗发动军事行动以来首次新闻发布会
- 2天前介绍个信用网网址 _谢楠103岁奶奶给吴京压岁钱!吴京拿到压岁钱立即要交给谢楠
- 2天前皇冠信用网出租 _伊朗驾驶员耗时约6小时护送6名中国同事撤离,“你们一定要安全回到自己的国家”
- 2天前皇冠代理管理端 _马杜罗还被强制关押中,委内瑞拉与美国恢复外交关系,中委合作大局会不会变?
- 3天前皇冠信用网登3出租 _19095.61亿!中国军费开支世界第二,外媒“带节奏”:目光瞄准台湾和美国
- 4天前皇冠会员如何申请 _女子冲马桶发现异物冲不走,误以为是塑料布伸手去捞,竟会往回缩,反复两次才发现是活物
- 5天前皇冠信用网网址 _沉默8天后,国台办公开表态,开出两岸对话条件,赖清德口风变了
- 6天前皇冠信用网申请 _济南一名高中生球场上与同学发生碰撞受伤,家长将对方和学校告上法院,法院:双方已达成调解协议
- 6天前世界杯皇冠足球平台 _男子下高速显示通行费83990元,车主幽默回应:“我绕美国去啊?”高速部门致歉
- 6天前皇冠信用网需要押金吗 _全国政协十四届四次会议开幕会在京举行
- 6天前皇冠信用网代理 _北京这场雪将下到明天傍晚,雪后天晴气温升
- 7天前皇冠信用网会员账号 _亚马尔传中助攻,贝尔纳尔破门,巴萨虽败犹荣
- 1周前皇冠信用网代理出租 _军采违约风波下,海澜之家的困境与破局之路
- 1周前皇冠信用网如何注册 _早读|特朗普称伊朗最高领袖哈梅内伊“已死”;伊朗宣布关闭霍尔木兹海峡
- 2周前皇冠信用最新地址_中方拒绝取消禁令,高市早苗对华措辞变了,日方首次公开时间表,发起新一轮报复
- 2周前皇冠球盘怎么做代理_曝美军司令已向特朗普汇报打击伊朗军事选项
- 2周前世界杯皇冠代理平台_谷爱凌外婆户籍卡亮了:原交通运输部高级工程师、上海交大高材生!爱凌追忆…
- 2周前世界杯皇冠代理平台_热身赛半场:山东泰山0-5上海申花!拉唐帽子戏法背后的战术解读与未来展望
- 2周前皇冠信用网怎么申请_在中国待了两天一夜,德国总理默茨变了,完全没了之前高高在上的样子
- 2周前皇冠信用网代理申条件_苦等4天,特朗普被中方“泼了冷水”,来不了北京了?中国话里有话
- 2周前正版皇冠信用网_女子怀疑丈夫出轨闺蜜,花9000元雇人追踪被抓包!法院:“私家侦探”判刑4个月罚款3000元
- 2周前足球外围买球网站_深圳有暴雨!今起,开年首场强对流天气杀到广东!雷电、大风紧随其后
- 2周前皇冠信用网怎么申请_巴拿马强闯港口办公区,驱逐中企员工,彻底接管长和港口,一点后路都不留!
- 2周前皇冠信用网怎么申请_四川广元26岁男子大年初三离家失联,最新进展:救援队称人被找到,但已离世


网友评论